一种凸轮槽分螺丝结构实用新型专利证书:本实用新型属于机械制造设备领域,特指一种凸轮槽分螺丝机构。思埃码科技致力于打造伺服拧螺丝机/伺服定扭旋紧机/自动锁螺丝机/伺服压力机/伺服压装机/数控压力机/电子压床品牌形象,不断研发新技术,开拓新功能,调整伺服压装机款式设计,优化产品机构,提升产品形象,打造思埃码科技伺服组装界品牌。

简要说明
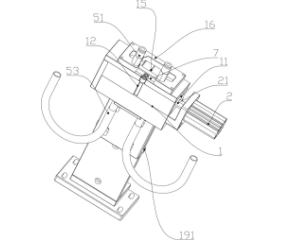
本实用新型属于机械制造设备领域如自动锁螺丝机/伺服定扭旋紧机/伺服定扭拧紧机,特指一种凸轮槽分螺丝机构。包括固定座、气缸、滑块、接料爪和送料通道,所述固定座成型有活动腔、送料通道连接的送料孔和进料口,所述活动腔内活动设置有滑块,所述滑块侧壁上设有至少2个夹料槽以及和夹料槽数量一致且用于夹持螺丝的接料爪,所述固定座一端设置有气缸,所述气缸驱动滑块左右滑动,移动到左侧送料孔时,使得夹料槽在进料口和送料通道之间往复运动。本实用新型具有高xiao率、速度快、惯性小、动作节拍稳定、结构简单稳定、产生噪音小、使用寿命长等优点。


公 司 简 介
思埃码智能科技有限公司以高、新、尖技术力量为核心,专业研发、生产、销售精密压装设备及相关自动化设备的专业厂家。
我们的产品有:伺服压力机、伺服定扭旋紧机、伺服扭力检测机、定扭旋紧机、自动锁螺丝机、气液增压机、气动压装距检测机、气动压力机、非标自动化设备等。
面向未来,浙江思埃码智能科技有限公司以工业4.0和“中国制造2025”为契机,继续完善产业布局,调整组织架构,强化创新能力,全面提升公司智能制造领域的综合实力,为公司发展提供强劲动力,思埃码始终保持着创新精神,不断以高品质产品服务于用户,推动中国伺服压力机产业发展。目前公司拥有6位专家级研发人员,30名专业技术人员,5名品质管理人员,通过一支优xiu、快捷高xiao、经验丰富、充满活力的团队,建立了完备的质量管理体系和优xiu的售后服务部门,真正实现售前,售中,售后一体化服务,在生产开发中,不断积极创新,优化产品结构,提高产品质量;在生产中严格落实高品质,究细节的品质理念;在售后维护客户利益,坚持诚信服务的原则。在汽车零部件行业,航空航天行业,电机行业、电子行业、,科研单位,电动工具行业中都树立了良好的口碑。
本着“专业、专注、只为更好”为核心理念,通过先进的管理手段,将技术、品质工艺改进,有效的融为一体,为客户提供精密、稳定、快捷的产品及方案。
